В соответствии с концепцией «More roads to Harley-Davidson» и намеченным планом развития марки вплоть до 2022 года, бренд из Милуоки, помимо активного расширения модельного ряда, начал снабжать своих «железных коней» высокотехнологичными разработками, способными поднять активную безопасность на новый уровень.
Американский мотоциклетный бренд номер один явно нацелен на рынки развивающихся стран. Несколько дней назад менеджеры компании сообщили о выпуске малокубатурных моделей для азиатских стран, а также разработке крупнокалиберного турэндуро и родстера, и тут же, не дав время на передышку, запатентовали систему, способную остановить мотоцикл без участия водителя.

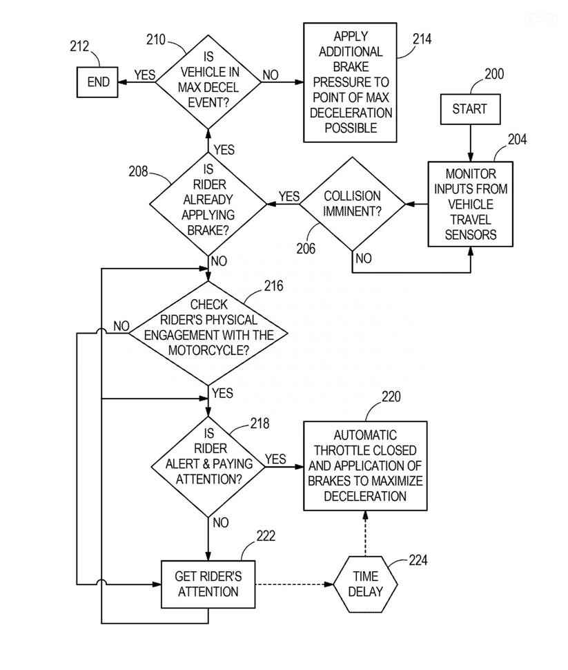
Схема системы активной безопасности Harley-Davidson
Вы не ослышались, в отличие от европейских компаний Ducati и KTM, инженеры Harley-Davidson предложили активно вмешиваться в процесс управления мотоциклом. Система, включающая массу датчиков, анализирует дорожную ситуацию в разрезе перспектив столкновения с другим транспортным средством и, одновременно с этим, проверяет готовность пилота к решительным действиям.

Harley-Davidson Pan America, недавно представленный брендом из Милуоки в качестве концепции дальнейшего развития
Датчики на руле, сидении и в шлеме, к примеру, определят готовность водителя к экстренному торможению, а электронный мозг системы, предупредив световыми, звуковыми и вибрационными сигналами и не получив должного отклика от пилота, инициирует полную остановку мотоцикла.

Судя по патентным изображениям, электронный помощник предназначен для семейства Harley-Davidson Touring
Система также будет притормаживать байк прикрытием дроссельной заслонки и слабой, пульсирующей активацией тормозных механизмов в случае, если посчитает, что водитель недостаточно интенсивно жмёт на рычаги в сложившейся ситуации. Как новая разработка будет работать в сложной ситуации, когда требуется сманеврировать, а не тормозить, пока не сообщается.
Подпишитесь на обновления журнала Омоймот Вконтакте, на Facebook, в Twitter, Youtube или Telegram чтобы первым узнавать о самых важных событиях мотомира.
Фотографии в статье — Total Motorcycle